ob电竞

接待会见ob电竞官方网站!
ob电竞集团

ob电竞专利:一种内嵌式激光切割装备

宣布人:admin时间:2021-09-17阅读数:236432字号: 缩小━ 默认? 放大?

在上一篇文章“手艺立异是激光分板机品牌生长的基础”中,,,,,我们提到了ob电竞拥有激光装备相关的专利220多项。。。。。那么今天我们就来先容其中一项专利手艺:一种内嵌式激光切割装备。。。。。


果真(通告)号CN210306305U,,,,,申请(专利权)人:广东ob电竞集团股份有限公司


手艺领域

[0001]本适用新型涉及激光切割装备手艺领域,,,,,尤其是指一种内嵌式激光切割装备。。。。。


配景手艺

[0002]激光切割机是将从激光器发射出的激光,,,,,经光路系统,,,,,聚焦成高功率密度的激光束。。。。。激光束照射到工件外貌,,,,,使工件抵达熔点或沸点,,,,,同时与光束同轴的高压气体将熔化或气化金属等切割废物吹到废物网络箱,,,,,然后风机将废物网络箱的废物抽出外界举行处置惩罚。。。。。现在的激光切割机的风机都是设置于激光切割机的外部,,,,,激光切割机占用空间大。。。。。同时,,,,,由于风机设置于激光切割机的外部,,,,,风机与激光切割机的距离较远,,,,,风机就接纳非直通式毗连方法与激光切割机的废物网络箱举行连通,,,,,非直通式毗连方法是指风机与激光切割机的废物网络箱之间通过多条风管连成的风道举行连通,,,,,多条风管连成的风道保存多个弯角。。。。。


风机接纳非直通式毗连方法与激光切割机的废物网络箱举行连通会保存以下问题:1、风机从废物网络箱所抽取的废物容易群集在风道的多个弯角处,,,,,从而梗塞风道,,,,,影响风机的抽风效果,,,,,严重时会导致风机损坏;;;;;;2、废物梗塞风道后,,,,,需要将多条风管拆卸下来才可以整理废物,,,,,整理废物的历程费时艰辛。。。。。


ob电竞专利:一种内嵌式激光切割装备


发明内容

[0003]本适用新型要解决的手艺问题是提供一种内嵌式激光切割装备,,,,,该内嵌式激光切割装备占用空间小,,,,,风机接纳直通式毗连方法与网络箱连通,,,,,使得网络箱所网络的切割废物禁止易梗塞风管,,,,,不影响风机的抽风效果,,,,,延伸风机的使用寿命,,,,,并且整理风管内的废物的历程利便,,,,,省时省力。。。。。


[0004]为相识决上述手艺问题,,,,,本适用新型接纳如下手艺计划:


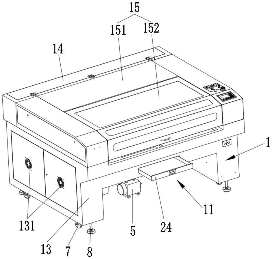
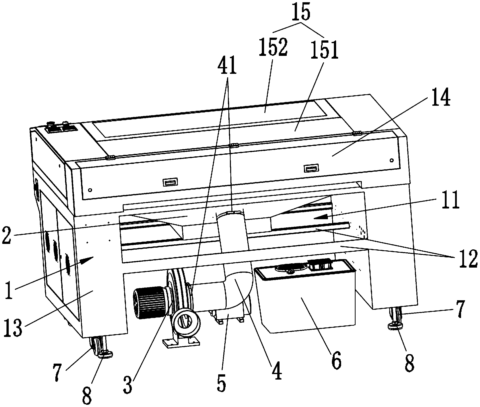
[0005]一种内嵌式激光切割装备,,,,,其包括机箱、网络箱、风机及风管;;;;;;网络箱装设于机箱并用于网络切割废物,,,,,风管的一端与网络箱连通,,,,,风管的另一端与风机的进风口连通;;;;;;机箱设置有容置槽,,,,,容置槽位于网络箱的下方,,,,,风管和风机均设置于机箱的容置槽内。。。。。


[0006]进一步地,,,,,所述内嵌式激光切割装备还包括用于与内嵌式激光切割装备配合事情的辅机,,,,,辅机设置于机箱的容置槽内。。。。。


[0007]进一步地,,,,,所述辅机包括用于向内嵌式激光切割装备提供压缩空气的气泵和用于向内嵌式激光切割装备提供冷却液的水箱组件,,,,,气泵和水箱组件均设置于机箱的容置槽内。。。。。


[0008]进一步地,,,,,所述机箱设置有多条增强梁,,,,,多条增强梁的两头划分毗连于机箱的容置槽的槽壁,,,,,多条增强梁位于容置槽内。。。。。


[0009]进一步地,,,,,所述网络箱包括网络箱侧壁和网络箱底部,,,,,网络箱底部毗连于网络箱侧壁的一端,,,,,网络箱侧壁的另一端为入料口,,,,,切割废物经由入料口掉入网络箱底部,,,,,网络箱侧壁设置有风管毗连口,,,,,风管毗连口贯串网络箱侧壁,,,,,风管与风管毗连口连通。。。。。


[0010]进一步地,,,,,所述网络箱呈倒锥形,,,,,网络箱的横截面积自入料口往网络箱底部的偏向逐渐减小。。。。。


[0011]进一步地,,,,,所述网络箱还包括抽屉,,,,,抽屉滑动设置于网络箱底部,,,,,抽屉用于承载切割废物。。。。。


[0012]进一步地,,,,,所述网络箱侧壁装设有过滤网,,,,,过滤网遮掩风管毗连口。。。。。


[0013]进一步地,,,,,所述机箱装设有多个脚轮。。。。。


[0014]进一步地,,,,,所述机箱装设有多个脚杯。。。。。


ob电竞专利:一种内嵌式激光切割装备


[0015]本适用新型的有益效果:现实使用时,,,,,风管和风机均设置于机箱的容置槽内,,,,,即风管和风机嵌入机箱的内部,,,,,镌汰内嵌式激光切割装备的占地面积。。。。。同时,,,,,由于风机设置于机箱的容置槽内,,,,,缩短了风机与网络箱之间的距离,,,,,两者之间的距离很近,,,,,风机就可以接纳直通式毗连方法与网络箱连通,,,,,直通式毗连方法是指风机通过一条风管与网络箱直接连通,,,,,一条风管不保存多个弯角。。。。。风机接纳直通式毗连方法与风机接纳非直通式毗连方法相比,,,,,接纳直通式毗连方法的风机只需通过一条风管就可以将网络箱所网络的切割废物抽出外界,,,,,切割废物禁止易梗塞风管,,,,,不影响风机的抽风效果,,,,,延伸风机的使用寿命。。。。。当需要整理风管内的废物时,,,,,只需要将风管拆卸下来即可整理,,,,,整理废物的历程利便,,,,,省时省力。。。。。详细的,,,,,风管与网络箱的毗连处及风管与风机的毗连处均装设有喉箍,,,,,喉箍能将风管的两头划分紧固地锁紧于网络箱和风机。。。。。


[0016]本申请的内嵌式激光切割装备占用空间小,,,,,风机接纳直通式毗连方法与网络箱连通,,,,,使得网络箱所网络的切割废物禁止易梗塞风管,,,,,不影响风机的抽风效果,,,,,延伸风机的使用寿命,,,,,并且整理风管内的废物的历程利便,,,,,省时省力。。。。。


详细实验方法:由于专利内容较多,,,,,实验详情请盘问知识产权出书社专利。。。。。


以上就是一种内嵌式激光切割装备的所有内容,,,,,选购相关激光装备,,,,,接待来ob电竞咨询。。。。。
?
ob电竞集团在线咨询
点击这里给我发新闻
点击这里给我发新闻
【网站地图】【sitemap】