obµç¾º

½Ó´ý»á¼ûobµç¾º¹Ù·½ÍøÕ¾!
obµç¾º¼¯ÍÅ

¼¯³ÉʽµçÔ´×°±¸£¬£¬£¬£¬£¬¼¤¹âÇиî»úµçÔ´µÄÓÅÑ¡

Ðû²¼ÈË£ºadminʱ¼ä£º2021-11-28ÔĶÁÊý£º173104×ֺţº ËõС©¥ ĬÈÏ? ·Å´ó?

ÏÖÔÚ£¬£¬£¬£¬£¬Êг¡Éϵ魯âÇиî»úïÔ¿Ì»úËùʹÓõĵçÔ´Æ÷¼þ»ò×°±¸Ö÷ÒªÓбäѹÆ÷¡¢¼¤¹âµçÔ´¡¢¿ØÖƵçÔ´¡¢¶¯Á¦µçÔ´¼°¸¨»úµçÔ´£¬£¬£¬£¬£¬¾ùΪ×ÔÁ¦Ê½×°±¸£¬£¬£¬£¬£¬µ¼Ö»úеµç¿ØÏäÓµ¼·£¬£¬£¬£¬£¬¿Í»§ÏÖ³¡½á¹¹É¢ÂÒ¡¢ÇÒ½ÓÏ߽϶࣬£¬£¬£¬£¬µçÏß½»Ö¯´í×Û£¬£¬£¬£¬£¬±£´æÇå¾²Òþ»¼ ¡£¡£¡£


»ùÓÚ´Ë£¬£¬£¬£¬£¬ÓÐÐëÒªÕë¶ÔÉÏÊöÎÊÌ⣬£¬£¬£¬£¬ÌṩһÖֽṹ½ô´Õ¡¢¼¯³É¶È¸ßµÄ¼¯³ÉʽµçÔ´×°±¸£¬£¬£¬£¬£¬×÷Ϊ¼¤¹âÇиî»úµçÔ´ ¡£¡£¡£


Åä¾°ÊÖÒÕ

¼¤¹âÇиîÊÇʹÓþ۽¹µÄ¸ß¹¦ÂÊÃܶȼ¤¹âÊøÕÕÉ乤¼þ£¬£¬£¬£¬£¬Ê¹±»ÕÕÉäµÄÖÊÁÏѸËÙÈÚ»¯¡¢Æû»¯¡¢ÉÕÊ´»òµÖ´ïȼµã£¬£¬£¬£¬£¬Í¬Ê±½èÖúÓÚ¹âÊøÍ¬ÖáµÄ¸ßËÙÆøÁ÷´µ³ýÈÛÈÚÎïÖÊ£¬£¬£¬£¬£¬ÊµÏÖ½«¹¤¼þ¸î¿ª£¬£¬£¬£¬£¬Æä˳ӦÈκÎÖÊÁϵļӹ¤ÖÆÔ죬£¬£¬£¬£¬ÓÈÆäÔÚһЩÓÐÌØÊ⾫¶ÈºÍÒªÇó¡¢ÌØÊⳡºÏºÍÌØÖÖÖÊÁϵļӹ¤ÖÆÔì·½ÃæÆð×ÅÎÞ¿ÉÌæ»»µÄ×÷Óà ¡£¡£¡£


ÊÖÒÕÁìÓò

±¾ÊÊÓÃÐÂÐÍÉæ¼°µçÔ´×°±¸ÊÖÒÕÁìÓò£¬£¬£¬£¬£¬ÌØÊâÊÇÉæ¼°Ò»Öֽṹ¼òÆÓµÄ¼¯³ÉʽµçÔ´×°±¸ ¡£¡£¡£


¹ûÕæ(ͨ¸æ)ºÅ£ºCN209767373U£¬£¬£¬£¬£¬ÉêÇë(רÀûȨ)ÈË£º¹ã¶«obµç¾º¼¯ÍŹɷÝÓÐÏÞ¹«Ë¾


ÊÊÓÃÐÂÐÍÄÚÈÝ


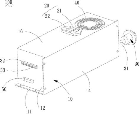
[1]Ò»ÖÖ¼¯³ÉʽµçÔ´×°±¸£¬£¬£¬£¬£¬°üÀ¨»úÏä¡¢ÄÚÖÃÓÚËùÊö»úÏäµÄÎÈѹÆ÷¡¢ÅþÁ¬ËùÊöÎÈѹÆ÷µÄµçÔ´ÊäÈë»ú¹¹¡¢ÅþÁ¬ËùÊöÎÈѹÆ÷µÄµçÔ´Êä³ö»ú¹¹¡¢¼°ÅþÁ¬ËùÊö»úÏäµÄÉ¢Èȼþ£»£»£»£»£»£»ËùÊöµçÔ´ÊäÈë»ú¹¹ÉèÖÃÊäÈë½Ó¿Ú£»£»£»£»£»£»ËùÊöÊäÈë½Ó¿ÚÓÃÓÚÅþÁ¬ÍⲿµçÔ´£»£»£»£»£»£»ËùÊöµçÔ´Êä³ö»ú¹¹ÓÃÓÚΪ¼¤¹âÇиî»ú¼°¸¨»úÌṩµçÄÜ£»£»£»£»£»£»ËùÊöµçÔ´Êä³ö»ú¹¹°üÀ¨ÅþÁ¬ËùÊöÎÈѹÆ÷µÄ¸ßѹÊä³öÏߣ¬£¬£¬£¬£¬ËùÊö¸ßѹÊä³öÏßÅþÁ¬¼¤¹âÇиî»úµÄ¼¤¹â¹Ü£¬£¬£¬£¬£¬ËùÊö¸ßѹÊä³öÏßÓÃÓÚΪ¼¤¹âÇиî»úµÄ¼¤¹â¹ÜÌṩµçÄÜ£»£»£»£»£»£»ËùÊöÉ¢ÈȼþÓÃÓÚÇãÔþËùÊö»úÏäÄÚµÄÈÈÁ¿ ¡£¡£¡£


 ¼¯³ÉʽµçÔ´×°±¸£¬£¬£¬£¬£¬¼¤¹âÇиî»úµçÔ´µÄÓÅÑ¡


[2]±¾ÊÊÓÃÐÂÐ͵ÉʽµçÔ´×°±¸Í¨¹ýÔÚ»úÏäÄÚÉèÖÃÎÈѹÆ÷¡¢µçÔ´ÊäÈë»ú¹¹¡¢µçÔ´Êä³ö»ú¹¹¼°É¢Èȼþ£¬£¬£¬£¬£¬¼¯³É¶È¸ß£»£»£»£»£»£»Í¨¹ýµçÔ´ÊäÈë»ú¹¹ÌṩµçÔ´£¬£¬£¬£¬£¬µçÔ´Êä³ö»ú¹¹ÊǼ¤¹âÇиî»úµçÔ´¼°Îª¸¨»úÌṩµçÄÜ£¬£¬£¬£¬£¬°ü¹Ü¼¤¹âÇиî»úÕý³£ÔË×÷ ¡£¡£¡£±¾¼¯³ÉʽµçÔ´×°±¸½á¹¹½ô´Õ¡¢Õ¼ÓÿռäС¡¢Î¬»¤Àû±ã ¡£¡£¡£


[3]ÔÚÆäÖÐÒ»¸öʵÑéÀýÖУ¬£¬£¬£¬£¬ËùÊöÊäÈë½Ó¿ÚµÄÊäÈëµçѹ¹æÄ£ÎªAC 90V¡«260V ¡£¡£¡£


[4]ÔÚÆäÖÐÒ»¸öʵÑéÀýÖУ¬£¬£¬£¬£¬ËùÊöµçÔ´Êä³ö»ú¹¹°üÀ¨µÚÒ»Êä³ö½Ó¿Ú¼°µÚ¶þÊä³ö½Ó¿Ú£»£»£»£»£»£»ËùÊöµÚÒ»Êä³ö½Ó¿ÚÓÃÓÚΪ¼¤¹âÇиî»úµÄ¿ØÖƼ°¶¯Á¦ÌṩµçÄÜ£»£»£»£»£»£»ËùÊöµÚ¶þÊä³ö½Ó¿ÚÓÃÓÚΪ¼¤¹âÇиî»úµÄ¸¨»úÌṩµçÄÜ ¡£¡£¡£


[5]ÔÚÆäÖÐÒ»¸öʵÑéÀýÖУ¬£¬£¬£¬£¬ËùÊöµçÔ´ÊäÈë»ú¹¹»¹°üÀ¨ÅþÁ¬ËùÊöÊäÈë½Ó¿ÚµÄ¿ª¹Ø£»£»£»£»£»£»ËùÊö¿ª¹ØÓÃÓÚ¿ØÖÆÊäÈë½Ó¿ÚµÄÊÂÇé ¡£¡£¡£


[6]ÔÚÆäÖÐÒ»¸öʵÑéÀýÖУ¬£¬£¬£¬£¬»¹°üÀ¨ÅþÁ¬ËùÊö»úÏäµÄ¿ØÖÆ»ú¹¹£»£»£»£»£»£»ËùÊö¿ØÖÆ»ú¹¹Ó뼤¹âÇиî»úµÄ¿ØÖÆÆ÷ÐźÅÅþÁ¬£¬£¬£¬£¬£¬ËùÊö¿ØÖÆ»ú¹¹ÓÃÓÚ¿ØÖƵçÔ´Êä³ö»ú¹¹µÄÔË×÷ ¡£¡£¡£


ÏêϸʵÑé·½·¨

ÎÄÕÂÆª·ùÓÐÏÞ£¬£¬£¬£¬£¬ÏêÇéÇëÅÌÎÊ֪ʶ²úȨ¾Ö ¡£¡£¡£


 ¼¯³ÉʽµçÔ´×°±¸£¬£¬£¬£¬£¬¼¤¹âÇиî»úµçÔ´µÄÓÅÑ¡


»úÐµÍÆ¼ö£ºÀÙË¿¼¤¹âÇиî»ú ¡£¡£¡£½ÓÄɼ¯³ÉʽµçÔ´×°±¸£¬£¬£¬£¬£¬ïÔÌ­»úе¸¨»ú²¼Ïߣ¬£¬£¬£¬£¬¿Í»§Ö»ÐèÒªÌṩ×ܵçÔ´Ïß½ÓÈë¶Ë¼°ÆøÔ´¼´¿É ¡£¡£¡£×¨ÒµµÄÈáÐÔ×ÓÁÏÇÐ¸î¿ØÖÆÈí¼þ£¬£¬£¬£¬£¬³ýͨÀý×Ô¶¯ÅŰ湦ЧÍ⣬£¬£¬£¬£¬»¹Ö§³ÖÅÀÆÂʽÅŰ桢¶à²ãÅŰæµÈ ¡£¡£¡£ÊÕÁÏÇøÓë¼Ó¹¤ÇøÓòÍÑÀëÉè¼Æ£¬£¬£¬£¬£¬ÊÕÁϲ»Í£»£»£»£»£»£»ú£¬£¬£¬£¬£¬Çå¾²ÐÔ¸ü¸ß ¡£¡£¡£


Ö÷ÒªÓÃÓÚÀÙË¿»¨±ß£¬£¬£¬£¬£¬ÊýÂëÓ¡»¨£¬£¬£¬£¬£¬Õë֯ɴ²¼µÈ¶àÖַǽðÊôÈáÐÔ×ÓÁϵĿìËÙÇÐ¸î ¡£¡£¡£


ÒÔÉϾÍÊǼ¯³ÉʽµçÔ´×°±¸£¬£¬£¬£¬£¬¼¤¹âÇиî»úµçÔ´µÄÓÅÑ¡µÄËùÓÐÄÚÈÝ ¡£¡£¡£Ñ¡¹ºÏà¹Ø¼¤¹â×°±¸£¬£¬£¬£¬£¬½Ó´ýÀ´obµç¾º×Éѯ ¡£¡£¡£


?
obµç¾º¼¯ÍÅÔÚÏß×Éѯ
µã»÷ÕâÀï¸øÎÒ·¢ÐÂÎÅ
µã»÷ÕâÀï¸øÎÒ·¢ÐÂÎÅ
¡¾ÍøÕ¾µØÍ¼¡¿¡¾sitemap¡¿